X
搜索
欢迎光临东莞市开景净化科技有限公司官网
询盘报价
网站地图
邮件咨询
工业设备管道清洗、
镀膜、防垢、防腐蚀、杀菌灭藻等药剂
为您量身定制一站式服务
空调高压分析解决方案
专业的服务团队
24小时业务咨询热线
13829107783
网站首页
关于开景
公司简介
企业文化
经营理念
资质证书
业务范围
工业设备清洗钝化镀膜药剂
工业、商业循环水处理
环保工程、机电安装工程
通风系统及清洗消毒工程
案例展示
各种水箱清洗
循环水处理
工业业设备水处理
中央空调清洗保养
产品中心
缓蚀阻垢剂
杀菌剂
预膜剂
清洗剂
环保清洗剂
清洗机
新闻资讯
公司新闻
行业新闻
人才招聘
工程师
专职业务员/助理
销售精英
普工
联系我们
您的位置:
首页
>
新闻资讯
>
行业新闻
循环冷却水系统清洗流程
浏览次数:
747
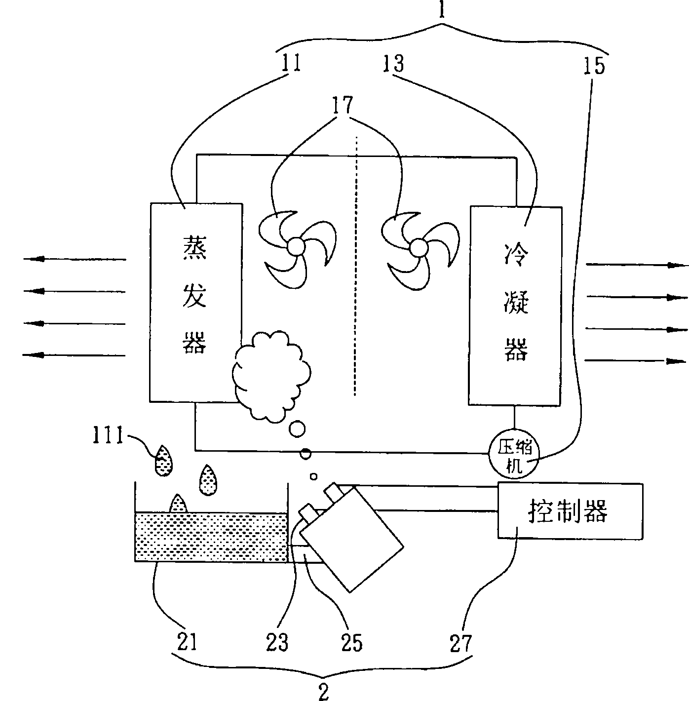
清洗目的:采用化学清洗方法,清除系统内(冷凝器、管道等)积存的粘泥、油污、锈垢、无机盐浮垢等沉积物、为后继的管道预膜工艺提供良好基础。
上一个:
循环冷却水系统为什么要做水质处理?
下一个:
如何用药剂对循环水管道进行清洗预膜
地址:广东省东莞市厚街镇南五大街北一巷3号
电话:0769-82286986 82286980 传真:0769-81505272 邮箱:
kjkeji@126.com
Copyright © 2026
东莞市开景净化科技有限公司
备案号:
粤ICP备2021039633号
技术支持:
博盈网络营销
提交成功
提交成功,我们会尽快与您取得联系,感谢您的支持!
5
秒后自动关闭
/newsshow/xunhuanlengqueshuixitongqingxiliucheng.html
填写表单,获取产品询盘报价
X
*
*
*
客服在线
微信咨询
kjkeji
询盘报价
返回顶部